建筑工程钢筋埋弧压力焊接头质量检验有哪些?
1.取样数量
预埋件钢筋T字接头的外观检查,应从同一台班内完成的同一类型预埋件中抽查10%,且不得少于10件。
当进行力学性能试验时,应以300件同类型预埋件作为一批。一周内连续焊接时,可累计计算。当不足300件时,也应按一批计算。应从每批预埋件中随机切取3个试件进行拉伸试验。
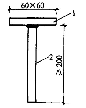
试件的尺寸见图9-98。如果从成品中切取的试件尺寸过小,不能满足试验要求时,可按生产条件制作模拟试件。

图9-98 预埋件T形接头拉伸试件
1-钢板;2-钢筋
2.外观检查
埋弧压力焊接头外观检查结果,应符合下列要求:
(1)四周焊包凸出钢筋表面的高度应不小于4mm;
(2)钢筋咬边深度不得超过0.5mm;
(3)与钳口接触处钢筋表面应无明显烧伤;
(4)钢板应无焊穿,根部应无凹陷现象;
(5)钢筋相对钢板的直角偏差不得大于4;
(6)钢筋间距偏差不应大于10mm。
3.拉伸试验
预埋件T字接头3个试件拉伸试验结果,其抗拉强度应符合下列要求:
(1)HPB235级钢筋接头均不得小于350N/mm2;
(2)HRB335级钢筋接头均不得小于490N/mm2。
当试验结果有1个试件的抗拉强度小于规定值时,应再取6个试件进行复验。复验结果,当仍有1个试件的抗拉强度小于规定值时,应确认该批接头为不合格品。对于不合格品采取补强焊接后,可提交二次验收。